
本文通過冷卻塔噪聲國家標準介紹了冷卻塔噪聲檢測規范、前期準備工作并簡要介紹了噪聲檢測方法。
到目前為止,冷卻塔噪聲有兩種不同的評價體系。一是中國產品質量標準GB/T7190.1—2008、GB/T7190.2,專門針對冷卻塔設計理念和制造商制定的—2008《玻璃鋼冷卻塔》,該規范規定了用戶的國家標準GB3096-2008《設備噪聲標準產品質量標準》區分了循環水消耗量和型號規格,并規定了不同環境區域等級的較高聲壓。如果該公司按照GB/T7190.1-2008和GB/T7190.2-2008的較高限值制造冷卻塔,則所有設備都無法滿足專門針對第二類的國家標準GB3096-2008。夜間噪聲≤45~50dB(A),只有少數小噸位、超低噪聲型號的冷卻塔才能滿足部分地區夜間噪聲標準的要求。因此,冷卻塔周圍居民和政府部門環保局應按照我國噪聲標準GB3096-2008,對冷卻塔使用單位因冷卻塔造成的噪聲污染進行綜合治理。
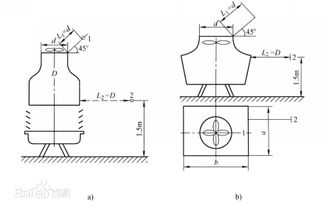
冷卻塔噪聲檢測規范中小型(單塔冷卻水消耗量≤1000m3/h)和大型(冷卻水消耗量>1000m3/h)玻璃鋼冷卻塔應進行噪聲檢測根據以下方法,具體采用GB/T7190.1-2008《中小型玻璃鋼冷卻塔》和GB/T7190.2-2008《大型玻璃鋼冷卻塔》噪聲檢測方法。
以上就是冷卻塔降噪廠家廣東特菱空調為大家帶來關于冷卻塔噪聲國家標準和噪音測量方法,冷卻塔噪聲擾民的內容,更多冷卻塔問題歡迎來電咨詢我們哦。
廣東特菱節能空調冷卻塔維修改造業務包含各品牌冷卻塔降噪、冷卻塔隔音、冷卻塔噪聲處理、冷卻塔噪音治理、冷卻塔風機噪音維修、冷卻塔電機異響處理、冷卻塔填料替換維修、冷卻塔配件拆舊換新、冷卻塔防腐防水堵漏及循環水冷卻系統工程等。我們的服務范圍覆蓋東莞、深圳、廣州、惠州、佛山、珠海、中山、汕頭等地區。